Apple патентует устройство с гибким и самовосстанавливающимся экраном
В технологическую гонку по созданию складных смартфонов после Samsung и Huawei готовится вступить Apple. Похоже, что компания всё-таки работает над собственным складным гаджетом.
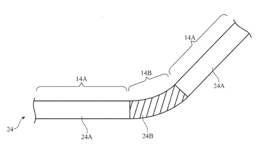
Согласно последним данным с AppleInsider, калифорнийский гигант получает патент на гибкий экран нового типа. Насколько известно, возможный складной iPhone будет построен на базе самовосстанавливающегося экрана, который будет корректировать свой износ, включая царапины.
Патент носит название “Электронные устройства с гибкими защитными покрытиями дисплея”. Похоже, что подверженные нагрузке, гнущиеся зоны экрана будут способны минимизировать свой износ, но как именно это будет реализовано - пока остаётся загадкой.
Судя по предыдущим данным, экран складного iPhone будет цельным, без отдельных панелей и креплений.

Вполне вероятно, что разрабатываемая опция самовосстанавливающихся экранов пока не будет использована в предстоящем складном iPhone - Apple уже разместила большой заказ на OLED панели в Samsung Display со сроками поставок как минимум один год.
Samsung является основным производителем таких панелей и поставляет их Apple уже много лет. Samsung Display лидирует в сфере производства складных экранов, а в следующем году планирует увеличить это производство до 10 миллионов единиц.
Слухи утверждают, что складной iPhone увидит свет в следующем году. Тем временем, до релиза линейки iPhone 12 5G остались считанные недели.


